Вернуться   Форум Экскаватор РУ > Разное > Форум конструкторов. Проектирование новых узлов и машин
Забыли пароль? Регистрация

Внимание! Администрация форума (включая модераторов) не продает тех.документацию, запчасти или технику. Если пользователь форума предлагаем вам какой-либо товар от лица администрации форума, то он - мошенник. Не перечисляйте ему деньги!

Ответить
Опции темы
Поиск в этой теме

Расширенный поиск
  #1  
Старый 20.06.2013, 23:17
Новичок
Профессия: Машинист
Адрес: город герой Вологда
Сообщений: 42
Клапан механизма натяжения гусеницы экскаватора

Кто знает как устроен клапан натяжника гусеницы(который не дает смазке вылазить обратно) Как говорится все гениальное просто вот и хочеться узнать устройство. Может у кого есть чертеж или сам может набросать на листке.

Ответить с цитированием
  #2  
Старый 20.06.2013, 23:20
Модератор
Профессия: Машинист
Адрес: тульская обл
Аватар для cat 316
Сообщений: 4,480
Цитата:
Сообщение от maxus615 Посмотреть сообщение
Кто знает как устроен клапан натяжника гусеницы(который не дает смазке вылазить обратно) Как говорится все гениальное просто вот и хочеться узнать устройство. Может у кого есть чертеж или сам может набросать на листке.
корпус шарик и пружина...
__________________
я уже не волшебник

Ответить с цитированием
  #3  
Старый 21.06.2013, 00:05
Новичок
Профессия: Машинист
Адрес: город герой Вологда
Сообщений: 42
у тавотницы такой же принцып но вот не держет же

Ответить с цитированием
  #4  
Старый 21.06.2013, 00:25
VIP
Профессия: Механик
Адрес: Питер
Сообщений: 584
Цитата:
Сообщение от maxus615 Посмотреть сообщение
у тавотницы такой же принцып но вот не держет же
принцип такой же,но точность обработки поверхностей разная......

Ответить с цитированием
  #5  
Старый 21.06.2013, 07:25
Забанен
Сообщений: 46
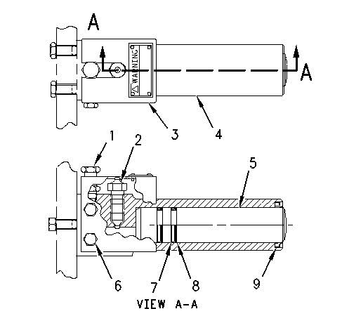
Клапан механизма натяжения гусеницы экскаватора

Нажмите на изображение для увеличения
Название: 1.jpg
Просмотров: 487
Размер:	27.8 Кб
ID:	9186

Ответить с цитированием
Ответить

Обсуждают сейчас



Здесь присутствуют: 1 (пользователей: 0 , гостей: 1)
 


Популярные разделы в Торговой Системе Экскаватор Ру
Экскаваторы Снегоуборочная техника Погрузчики Самосвалы Штабеллеры Краны подъемные Складские погрузчики Мини-техника Бетононасосы Подъемники строительные Дробильно-сортировочное оборудование
Текущее время: 09:29. Часовой пояс GMT +3.
Как это работает?
Оставьте заявку, и исполнители сами позвонят вам!
1. Подробно опишите заявку
Это позволит избежать вопросов и быстрее получить самые выгодные отклики.
2. Оставьте контактные данные
чтобы продавцы смоглинаправить вам предложения
3. Получайте самое выгодное предложение и выбирайте исполнителя
Спасибо, понятно :)
+
Хотите быстро купить спецтехнику или взять ее в аренду? Разместите заявку!
С Вами свяжутся!
Ошибка отправки сообщения
отправить сообщение